医疗器械创新网

logo

会员登录

用户登录 评委登录
一周内自动登录 建议在公共电脑上取消此选项
一周内自动登录 建议在公共电脑上取消此选项
依据工信部新规要求,运营商部署做出调整,现部分用户无法获取短信验证码(移动运营商为主)。如遇收不到短信验证码情况,请更换其他手机号(联通、电信)尝试,有疑问请电话咨询:18912606905、18136127515。
一周内自动登录 建议在公共电脑上取消此选项
手机验证码登录 还未账号?立即注册

会员注册

*依据工信部新规要求,运营商部署做出调整,现部分用户无法获取短信验证码(移动运营商为主)。如遇收不到短信验证码情况,请更换其他手机号(联通、电信)尝试,有疑问请电话咨询:18912606905、18136127515。
已有账号?
医疗器械创新网
医疗器械创新网

又一家医疗公司,破产!

日期:2025-06-29
浏览量:3896



5月16日,企查查网站公布了深圳市慧流体生物科技有限公司破产文书,慧流体生物正式宣告破产!

ba7b1a493abce8506631c43494ab549.png
46123be407a15b5519046f5d3e9f04e.png

企查查显示,其目前经营状态还处于存续状态!

d014c00f2a94b17d63120ce450e0dff.png

该公司3月份还在招聘嵌入式软件工程师,谁曾想仅仅3个月,公司已经破产了,着实令人唏嘘!

5e1202066525e2fbdac364226df1911.png

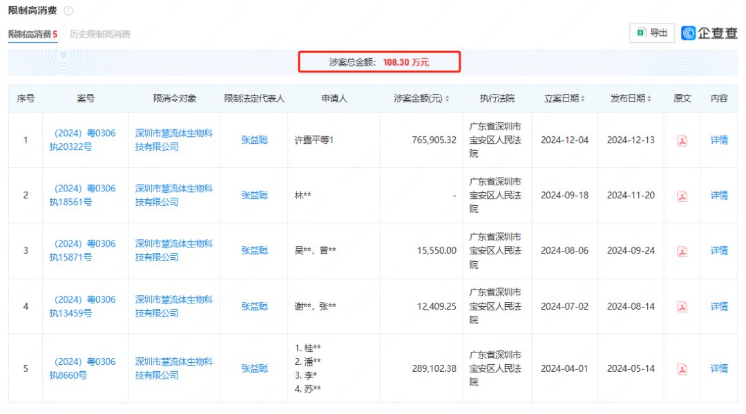
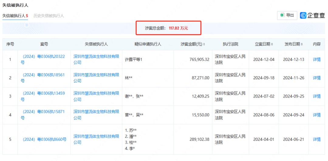
据企查查数据显示,慧流体生物早在2024年就已经出现问题,公司法人被限高,涉案金额达108.3万!企业成为失信被执行人,涉案金额高达117.02万元!

16781692b523f5f9f97800a903561b6.png
42e7ad8a75147e877d238235e5c372b.png

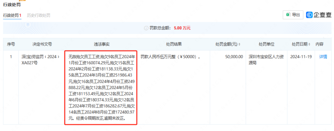
企查查还显示,慧流体生物从2024年1月份开始就无故拖欠员工工资:

  • 拖欠9名员工2024年1月份工资160074.29元

  • 拖欠15名员工2024年2月份工资181138.33元

  • 拖欠15名员工2024年3月份工资251986.43元

  • 拖欠16名员工2024年4月份工资249888.22元

  • 拖欠12名员工2024年5月份工资181153.49元

  • 拖欠12名员工2024年6月份工资180374.33元

  • 拖欠12名员工2024年7月份工资186282.67元

  • 拖欠14名员工2024年8月份工资172480.97元。

e530d9e9d3cfa9d95d495fcefcaf63d.png

2024年开年,公众号还在发布庆祝新年后开工大吉的文章!

a927bf3fcc843f442de76b2425b1b55.jpg


慧流体生物科技有限公司


图片

深圳市慧流体生物科技有限公司成立于2020-04-24,法定代表人为张益聪,注册资本为333.3万元,统一社会信用代码为91440300MA5G5HRN4C,主要是从事新一代智能化POCT检测平台的研发、生产和销售,致力于为客户提供“硬件+软件+服务"一体化的解决方案。


慧流体生物的主要是产品是全自动血常规生化免疫POCT,也就是主推的三合一POCT,集三分类/五分类血常规检测平台、生化检测平台、免疫比浊检测平台于一体。仅需采集微量指尖血,仪器全自动上样。一个样本支持同时检测血球、多项生化项目、多项免疫项目,一次15分钟内出全部结果。采用单人份试剂,可常温储存,无需冷藏。


企业注册地址位于深圳市宝安区新安街道兴东社区71区引进大厦401,所属行业为专用设备制造业,经营范围包含:生物技术、新材料技术、节能技术推广;生物制品的技术开发;生物科技产品的技术开发;计算机软件、信息系统软件的开发、销售;信息系统设计、集成、运行维护;信息技术咨询;集成电路设计、研发;信息传输、软件和信息技术服务业;国内贸易。(法律、行政法规或者国务院决定禁止和规定在登记前须经批准的项目除外)^医疗器械(包括体外诊断试剂、临床检验分析仪器)的研发、生产、销售及技术服务。企业当前经营状态为存续。







▲文章来源:IVD从业者网、企查查、慧流体等   整理:体外诊断网
▲转载请标注以上来源

声明:本文仅作信息传递之目的,仅供参考。本文不对投资及治疗构成任何建议,请谨慎甄别。如涉及医疗器械创新网内容、版权和其它问题,为保障双方权益,请与我们联系,我们将立即处理。如有平台转载本篇文章,须自行对该篇文章负责,医疗器械创新网网不对转载引起的二次传播负责。

往/期/回/顾


,新总裁“五一”到任!




返回列表
医疗器械创新网网 医疗器械创新网网 医疗器械创新网网 医疗器械创新网网 医疗器械创新网网