刚刚,小编看到又有一家纳米孔测序仪企业破产——苏州罗岛纳米科技有限公司。
就在2020年,网络上还有公开报道,罗岛纳米成功研发新一代固态纳米孔测序仪,原理机在苏州完成验证。2022年,苏州罗岛公司还称,计划年底推出可量产的单分子检测仪器及耗材,同时开拓科研与分子诊断市场。
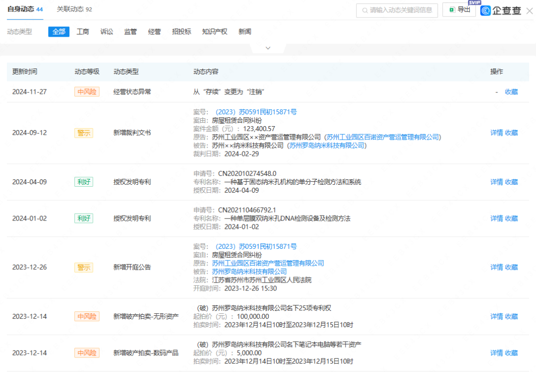
但小编查询发现,企查查上显示,2023年9月该企业已经开始破产清算;到2023年底,该企业已经破产;2024年11月,该企业经营状态已经从“存续”,变为“注销”。
2021年2月22日:完成A轮融资,投资方新增北京龙脉得创业投资基金 ;合作机构包括Plug and Play China璞跃中国
2022年,在由国家科技部主办的“首届全国颠覆性技术创新大赛”上,材料科学姑苏实验室的“固态纳米孔DNA测序仪”项目,从全国2724个项目中脱颖而出,经过领域赛、总决赛层层选拔,荣获大赛最高奖项——总决赛优胜奖(36个)。值得一提的是,该项目由BioBAY园内企业苏州罗岛纳米科技有限公司负责具体技术研发。
于2019年落户BioBAY,是一家基于固态纳米孔基因测序技术进行测序仪的开发和产业化的生物科技公司,获批2020年园区领军和姑苏实验室。公司创始人兼首席科学家凌新生教授是著名凝聚态物理学家、美国布朗大学终身教授、美国物理协会终身Fellow,其在2002年发现射电显微镜(TEM)可以制作纳米孔后,逐步形成了固态纳米孔测序理论体系,是固态纳米孔测序理论的奠基人。
公司项目团队目前已完成原理样机研发,预计两年内推出固态纳米孔测序产品。此外,固态孔作为优良的单分子检测材料,在病毒快速检测、癌症诊断、遗传病检测等领域也大有可为。
据项目负责人介绍,2022年内将推出固态纳米孔单分子检测产品,受益于固态纳米孔材料的优势,相较目前主流的PCR、免疫等分子诊断方式,具备速度快、成本低、检出下限低、小巧便携等优势,初期瞄准科研市场,后续可针对核酸、蛋白、病毒颗粒、纳米颗粒等样本实现快速精准检测。